Klešta obla za elektroniku 115mm 35 31 115 KNIPEX

Šifra proizvoda: 3531115
4.904,00 RSD
U cenu je uračunat PDV

Karakteristike proizvoda

  • Glava: visoko polirana (mirror polished)
  • Drške: sa neklizajućim plastičnim oblogama
  • Težina: 61 g
  • Dimenzije: 115 x 70 x 17 mm
  • Standard: DIN ISO 9655
  • REACH usklađenost: da
  • Ne sadrži SVHC supstance
  • RoHS usklađenost: nije primenljivo
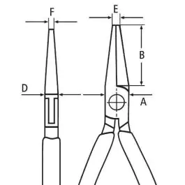
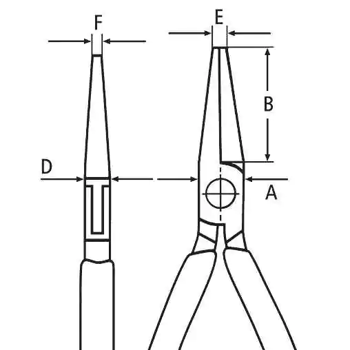
  • Dužina viljuške (B): 22.5 mm
  • Debljina viljuške u zglobu (D): 6.5 mm
  • Širina vrhova (E): 2.0 mm
  • Debljina vrhova (F): 1.0 mm
  • Širina glave (A): 11.0 mm
Unesite Vaš E-mail: 

Opis i namena proizvoda

  • Klešta obla za elektroniku 115mm 35 31 115 KNIPEX 
  • Male, precizne i izuzetno praktične, Knipex 35 31 115 elektronske klešta predstavljaju idealan alat za fina montažna i servisna podešavanja. Sa ukupnom dužinom od svega 115 mm, dizajnirane su tako da obezbede maksimalnu slobodu pokreta čak i u vrlo skučenim prostorima, što je posebno važno pri radu na elektronskim uređajima, štampanim pločama, mernim instrumentima i delikatnim aparaturama.
  • Njihova ravna, tanka glava omogućava pristup teško dostupnim mestima, dok glatke, precizno obrađene površine hvatanja čuvaju osetljive komponente od oštećenja.
  • Ove elektronske klešta za fino rukovanje izrađena su po najvišim standardima i opremljena kutijastim zglobom koji pruža stabilan rad bez uvijanja. Unutrašnja ručka se vodi sa obe strane spoljne, što garantuje glatko, precizno pomeranje. Dvostruka opruga dodatno doprinosi minimalnom otporu pri otvaranju, pa je rad izuzetno lagan i kontrolisan – ključna prednost kada se radi sa malim, osetljivim komponentama.
  • Kao i kod celog Knipex asortimana, kvalitet izrade je na najvišem nivou. Klešta su kovana od specijalnog alatnog čelika, uljno kaljena, pažljivo polirana i detaljno oborena na svim ivicama. Polirana površina u kombinaciji sa tankim uljnim filmom pruža pouzdanu zaštitu od korozije, a odsustvo hromiranja eliminiše rizik od ljuspica hroma koje bi mogle pasti na ploču i izazvati kvar. Ovo čini model 35 31 115 posebno pogodnim za elektroniku, servis i radionice gde je sigurnost delova prioritet.
  • Knipex 35 31 115 klešta predstavljaju savršen izbor za sve koji traže preciznost, kontrolu i dugotrajnu pouzdanost u radu sa elektronikom – od hobista do profesionalnih servisera.

 

* OdIgleDoLokomotive.rs ne garantuje za tačnost svih karakteristika i komentara vezanih za proizvode na sajtu.

Ocene korisnika

5 0%
4 0%
3 0%
2 0%
1 0%

Ukoliko ste koristili ovaj proizvod, molimo dajte vaš komentar.

Napiši recenziju

Reklamacija i zamena proizvoda

Ako niste zadovoljni proizvodom kupljenim na sajtu www.odigledolokomotive.rs, iz bilo kog razloga, u roku od 14 dana od dana prijema robe možete vratiti proizvod. Proizvod koji se vraća mora biti u istom stanju kao i kada je nabavljen i mora sadržati svu tehničku dokumentaciju ( uputstvo, garanciju, pakovanje itd ). Proizvod mora biti bez bilo kakvih fizičkih oštećenja i tragova korišćenja. Kupac je isključivo odgovoran za umanjenu vrednost robe koja nastane kao posledica rukovanja robom na način koji nije adekvatan, odnosno prevazilazi ono što je neophodno da bi se ustanovili priroda, karakteristike i funkcionalnost robe. Kupac pismeno ili elektronski obaveštava prodavca u roku od 14 dana da vraća proizvod, pomoću Obrasca za odustanak koji se nalazi na poledjini računa. Troškove transporta pri vraćanju robe snosi kupac. Posle 14 dana od dana prijema Od Igle Do Lokomotive doo nije obavezna da vrati novac ili zameni robu. Za detaljnije informacije kliknite na link Prava i obaveze potrošača

x
  • Naziv proizvoda: Klešta obla za elektroniku 115mm 35 31 115 KNIPEX
  • Šifra proizvoda: 3531115
  • Uvoznik: Eltec
  • Zemlja porekla: Nemačka